english español polski  
  Home Produkte Vorteile FAQ Prospekte Über uns Kontakt Impressum AGB's  

Produkteigenschaften


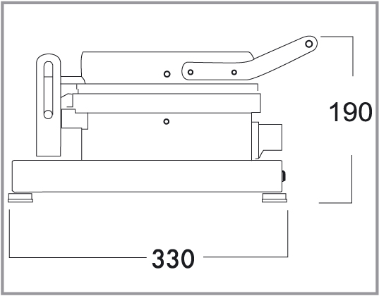
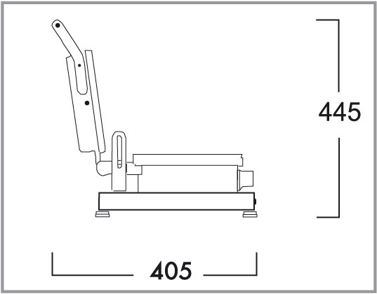
Technische Daten